„Ram 1500 Revolution BEV“ koncepcijos trečiosios eilės šokinėjimo sėdynės gali būti gaminamos Ramas pateikė patentą trečios eilės...
AUTO
Auto – tai erdvė, skirta visiems, kurie domisi automobiliais, jų techninėmis savybėmis, naujausiomis tendencijomis ir automobilių pramone. Čia rasite išsamias apžvalgas, praktinius patarimus ir naujienas, kurios padės jums priimti teisingus sprendimus renkantis, prižiūrint ar modernizuojant savo automobilį.
„Hyundai“ visureigis „Tucson PHEV“ atnaujina savo interjerą Nauji „Baby“ ir „Green Zone“ vairavimo režimai nuleidžia jėgos pavaros...
Įkandus automobilio apsipirkimo klaidai, pagrindinis dėmesys skiriamas norimo automobilio paieškai ir pargabenimui namo. Asmeninių rekordų kopijų rinkimas...
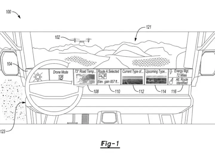
GM gali dislokuoti bepiločius orlaivius, kad apžiūrėtų bekelės takus priešais transporto priemonę Dronai gali perduoti rekomenduojamą maršrutą...
„Tesla“ „Cybertruck“ įgavo bekelės režimus atnaujinęs belaidžiu būdu programinę įrangą „Cybertruck“ bekelės režimai apima „Overland“, „Baja“ ir...
„Mazda“ sumažino CX-5 kainą 685 USD 2025 m Kainos pokyčiai ateina kartu su bazinio CX-5 S modelio...
Srautinio perdavimo paslaugų skelbimai ateityje gali paskatinti pasiūlyti paskirties vietą „Google“ žemėlapiuose. „Google“ nekomentavo, ar tai išvys...
2022 metais GM paskelbė, kad 2025 metais kasmet galės pagaminti 1 mln Per 2022 ir 2023 m....
Elektrinių „Porsche Macan“ serija plečiasi iki 2025 m Bazinio modelio „Porsche Macan“ elektromobiliai dabar yra varomi galiniais...
„Vinfast“ trejiems metams atidėjo savo elektromobilių gamybą JAV „Vinfast“ sumažino 2024 m. apimties tikslus „Vinfast“ atsiliko nuo...











