Nuo golfo iki žvejybos iki marinuoto kamuolio, sporto lauke ir poilsio metu pandemijos metu buvo bumas. Tačiau...
Mėnuo: 2024 rugpjūčio
Mes esame dideli sammie gerbėjai čia, „Fit Foodie Finds“, ir tai yra mūsų tikslas mėgstamiausias kalakutienos sumuštinio...
Šiaulių apskrities vyriausiojo policijos komisariato Kriminalinės policijos nusikaltimų nuosavybė tyrimo valdybos sprendimus patvirtino, kurio centras – 55...
Padaryti lenktyninį automobilį didesnį ir sunkesnį gali atrodyti neproduktyvu, tačiau būtent taip atsitiko su Formulės 1 bolidais...
Warren Buffett Berkshire Hathaway sumažino savo „Apple“ akcijų paketą maždaug per pusę – iki 84,2 mlrd. USD,...
Nėra nieko geriau už didelį dubenį šios maltos kalakutienos farro sriubos! Tereikia viską sumesti į puodą, leisti...
Vasara šiauliečiams ir aplinkinių miestų gyventojams jau tapo gydoma be Šiaulių apskrities Povilo Višinskio viešosios bibliotekos organizuojamo...
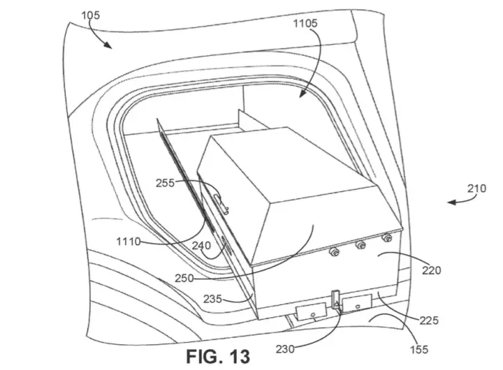
Rivian R1T išstumiamas stovyklos virtuvė yra sumanus EV priedas, kuris netrukus gali pamatyti naują iteraciją. Patento paraiškoje,...
Kibernetinės atakos prieš JK rinkimų komisiją, dėl kurios buvo pažeisti 40 milijonų žmonių rinkėjų registro įrašai, buvo...
Šie Klasikiniai avižiniai dribsniai yra paprasti, patenkinti ir oi kaip skanūs! Padarėme keletą sveikų apsikeitimų, kad įsitikintume,...












