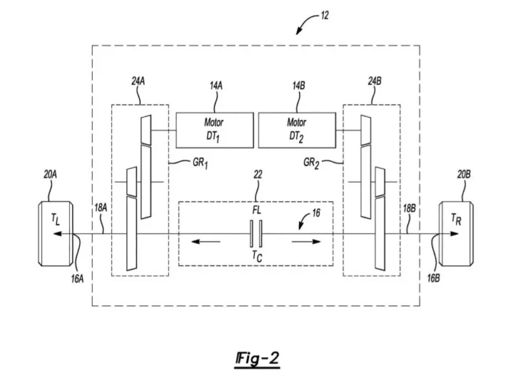
„General Motors“ ieško būdų, kaip pridėti keturių variklių jėgos agregatai savo elektromobiliams, daugiausia dėmesio skiriant našumui tiek...
AUTO
Auto – tai erdvė, skirta visiems, kurie domisi automobiliais, jų techninėmis savybėmis, naujausiomis tendencijomis ir automobilių pramone. Čia rasite išsamias apžvalgas, praktinius patarimus ir naujienas, kurios padės jums priimti teisingus sprendimus renkantis, prižiūrint ar modernizuojant savo automobilį.
Genesis LMDh lenktyninis automobilis šiuo metu egzistuoja tik kaip pusiau mažesnis modelis Siekdama paspartinti plėtrą, „Genesis“ pagamins...
VW aplenkė įprastas atstovybes, parduodančias būsimus Scout elektrinius sunkvežimius Prekiautojų interesai Kalifornijoje teigia, kad tai pažeidžia franšizės...
2025 metų „Kia Sportage“ yra kompaktiškas visureigis, puikiai lyginamas su „Toyota RAV4“ ir „Mazda CX-50“, jau nekalbant...
Nemokamas NACS adapteris leis Supercharger pasiekti CCS EV Išsami informacija bus pateikta 2025 m. pradžioje; Dalyvauja ir...
2020–2021 metų „Lincoln Aviator“ atšaukiamas dėl galinio vaizdo kameros, kuri negali rodyti vaizdo, kai visureigis važiuoja atbuline...
VW grupė ir darbuotojai susitarė, kad iki 2030 metų Vokietijoje bus atleista 35 000 darbuotojų Darbo vietos...
Kokia transporto priemonė yra 2025 m. BMW X7? Su kuo tai lyginama? 2025 metų BMW X7 yra...
„Shelby Cobra“ kopija, tariamai naudota filmuojant 1995 m. „Blogus berniukus“, parduodama aukcione Teigiama, kad automobilis yra vienas...
2025 m. „Chevrolet Corvette ZR1“ pateisina lūkesčius, nustatydamas naujus našumo etalonus, įskaitant greičiausias 0–60 mylių per valandą...













